H καινοτομία είναι ίδιον της Tesla, με τα αυτοκίνητά της να ηγούνται των ψηφιακών εξελίξεων στην αυτοκίνηση. Οι τεχνικοί του Elon Musk συνήθως ασχολούνται με τεχνολογικά ζητήματα (αυτόνομη οδήγηση, αυτόματη αναζήτηση θέσης παρκαρίσματος, Netflix και Atari στο σύστημα πολυμέσων κλπ), όμως τώρα είναι αποφασισμένοι να επιλύσουν ένα πρακτικό ζήτημα, που απασχολεί τους οδηγούς εδώ και σχεδόν 120 χρόνια!
Δείτε ακόμα: Ντίζελ Ram «πνίγει» στον καπνό Tesla! (video)
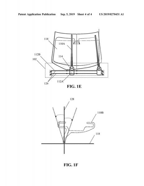
Το 1903, η Mary Anderson δημιούργησε έναν μηχανισμό αποτελούμενο από βραχίονα και ένα μακρόστενο κομμάτι πανί, που λειτουργούσε χειροκίνητα από το εσωτερικό του αυτοκινήτου. Η λειτουργία του; Να απομακρύνει το νερό από το παρμπρίζ. Οι πρώτοι υαλοκαθαριστήρες ήταν γεγονός! Και μέχρι σήμερα, η αρχή λειτουργίας τους δεν έχει διαφοροποιηθεί. Μπορεί το υλικό να έχει αλλάξει, εδώ και πάρα πολλά χρόνια να λειτουργούν ηλεκτρικά, να υπάρχουν παραλλαγές στην τοποθέτησή τους (στο πάνω μέρος του παρμπρίζ α λα στρατιωτικά οχήματα, εκατέρωθεν του παρμπρίζ α λα 2ης γενιάς Seat Leon κλπ), όμως ο τρόπος που απομακρύνουν νερά και βρωμιές είναι ο ίδιος: ημικυκλική κίνηση, που αφήνει ανέπαφα σημεία στο πάνω μέρος και δεξιά-αριστερά. Εδώ μπαίνει η Tesla.
Διαβάστε επίσης: Γιατί κάποια φορτηγά έχουν τους τροχούς στον αέρα; (+video)
Οι Αμερικανοί, όπως και η συμπατριώτισσα εφευρέτρια, αποφάσισαν να διευκολύνουν την ζωή του οδηγού. Κατοχύρωσαν μια πατέντα στην οποία ένα κάθετα τοποθετημένο μάκτρο, κινείται από την μία άκρη του παρμπρίζ στην άλλη, καλύπτοντας όλη την επιφάνεια και εξαλείφοντας τις «νεκρές» περιοχές. Όταν δεν λειτουργεί, ο υαλοκαθαριστήρας «κρύβεται» στις ανάλογες πλαϊνές εσοχές. Στα σκίτσα που εστάλησαν στο Αμερικανικό Γραφείο Πνευματικών Δικαιωμάτων, το μάκτρο απεικονίζεται να εκτείνεται σε τέτοιο μήκος ώστε να καθαρίζει τον ζωτικό χώρο (αυτόν που ορίζει το οπτικό πεδίο, δηλαδή) του παρμπρίζ από άκρη σε άκρη. Όμως μπορεί να χρησιμοποιηθεί και μεγαλύτερο, για αγορές με έντονες βροχοπτώσεις ή χιονοπτώσεις (Αγγλία, Σκανδιναβία κ.ο.κ.).

































